Metadata Secures Second Patent for B2B Lead Generation Technology
Press Releases
Feb 21, 2018
SAN FRANCISCO, Feb. 21, 2018 /PRNewswire/ — Metadata Inc. (http://www.metadata.io), the pioneer of A.I. operated demand generation platforms for B2B companies, today announced that it has secured a second U.S. patent for its technology that generates demand and customer leads for B2B advertising campaigns.
Leveraging ideal customer profiles (ICPs) and automating the testing of campaigns, Metadata’s technology can select candidate leads that respond favorably to a customized advertising campaign much faster and more accurately than can be achieved manually by an in-house advertising team.
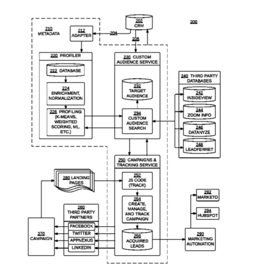
The patent is for “Methods and systems for B2B demand generation with targeted advertising campaigns and lead profile optimization based on target audience feedback.” Full text and image are available here.
“Like an army of marketing operations experts, Metadata’s patented AI Operator automates manual tasks (e.g., UTM tag creation, a/b testing, campaigns setup, data enrichment) and provides CMOs with 100X the capacity to conduct multivariate offer and channel experiments against buying personas within their target accounts, accelerating existing opportunities and creating a predictable and scalable lead flow,” said Gil Allouche, founder and CEO at Metadata.io.
The Metadata platform is powering account-based marketing campaigns at leading B2B technology firms including Nutanix, Cisco, Mulesoft, Tipalti, Infoblox and many others. Since 2015, Metadata’s mission is to free B2B marketing teams from manual marketing ops work, employing an artificial intelligence (AI) operator that uses automated, multivariate experimentation to provide a predictable and scalable flow of leads and accelerate pipeline growth.
About Metadata
Metadata is a next-generation account-based targeting platform, completely automated and operated by Artificial Intelligence. The Metadata A.I. Operator learns your ideal customer profiles based on historical CRM data, then builds audiences of your target customers and personas and deploys paid media campaigns automatically to deliver a predictable, qualified inbound lead flow. Metadata clients include Nutanix, Amdocs, Intel, Mulesoft, Infoblox and many others. For more information about Metadata, visit www.metadata.io.
Media Inquiries:
Gil Allouche, CEO of Metadata
[email protected]
Related Images
united-states-patent-9886700.png
United States Patent: 9886700
View original content:http://www.prnewswire.com/news-releases/metadata-secures-second-patent-for-b2b-lead-generation-technology-300601942.html
SOURCE Metadata



